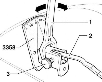
Измерение угла наклона плоскости рычага к поверхности стекла
1 — ключ; 2 - рычаг стеклоочистителя; 3 - стопорный винт
На щётках стеклоочистителей со временем накапливается дорожная пленка, снижая эффективность их работы, поэтому щётки следует регулярно промывать в мягком чистящем растворе.
Проверка состояния щёток и исходного положения рычага стеклоочистителя
1. Сборки стеклоочистителей со щётками должны регулярно осматриваться. Если осмотр выявил наличие затвердений или трещин на резине щёток, замените щётки. Если при осмотре не обнаружено ничего необычного, намочите ветровое стекло, включите стеклоочистители, дайте им немного поработать, и выключите их. Неравномерный след от щёток на стекле или полоски на чистом стекле указывают на то, что щётки следует заменить.
2. Если щётки недостаточно хорошо очищают ветровое стекло, то возможны следующие причины этого.
При прохождении автомобилем автоматической мойки на ветровое стекло попали частицы воска. Эти частицы могут быть удалены при добавлении в жидкость стеклоомывателя моющего средства, обладающего свойством растворять воск.
Наполнение резервуара жидкости для очистки стёкол с воскорастворяющими свойствами может существенно улучшить действие стеклоочистителей. Жирорастворяющие чистящие средства не в состоянии полностью очистить стекло.
3. Повреждение щёток может быть также причиной плохой очистки стёкол, щётки следует заменить.
4. В ходе работы механизма стеклоочистителей может произойти ослабление крепежных гаек, поэтому их следует проверять и по необходимости подтягивать каждый раз при проверке щёток (обратитесь к Главам Подвеска и рулевое управление и Кузов за более подробной информацией по работе механизма стеклоочистителей).
(Статья перепечатана отсюда: autoinstruction.ru)
