AutoInstruction.ru
Мобильная
версия
Статьи
и новости
Карта
сайта
Связь с
админом
Добавить
в закладки
Ауди
БМВ
Чери
Шевроле
Ситроен
Дэу
Фиат
Форд
Хонда
Хендай
Инфинити
Исузу
Джип
Лексус
Ленд Ровер
Мазда
Мерседес
Мицубиси
Опель
Ниссан
Пежо
Рено
Сааб
Шкода
Субару
Сузуки
Тойота
Фольксваген
Вольво
АвтоВАЗ
Mazda:
Мазда 121▾
121 3 (JASM/JBSM)
Фамилия▾
Фамилия 5 (BF, бензин) Фамилия 6 (BG)
Капелла▾
Капелла 3 и 4 (GC/GD, бензин) Капелла 3 и 4 (GC/GD) Капелла 5 (GE) Капелла 6 (GF/GW, бензин)
Мазда 3▾
Мазда 3 1 (BK)
Мазда 6▾
Мазда 6 1 (GG, бензин)
Мазда СХ▾
СХ (CX-5 KE)
ВТ-50▾
ВТ-50 1 (UN, дизель)

Система смазки двигателя автомобиля Mazda 3 BK (2003-2009)

  • Главная
  • Мазда
  • Мазда 3
  • BK (2003-2009)
  • Двигатель и системы
  • Система смазки
Поделитесь с друзьями в:
Поиск только в этом разделе сайта:
Общие сведения о системе смазки двигателей
Система смазки работает под давлением, масло проходит через масляный фильтр. На двигателях Mazda устанавливается экологически чистый масляный фильтр со сменным фильтрующим элементом. Система смазки – с полнопоточной очисткой масла и с подачей масла...
Масляный насос — описание
Масляный насос установлен в передней крышке двигателя. Коленчатый вал приводит в действие внутренний ротор цепью и звездочкой масляного насоса. Используется эффективный и компактный масляный насос с 5-ю зубьями на внешней и 6-ю – на внутренней...
Масляный поддон — описание
Применяется два вида масляных поддонов – один из алюминиевого сплава, благодаря чему уменьшен общая массу автомобиля, и поддон, изготовленный из многослойной стали. Для уплотнения поддона используется силиконовый уплотнитель. Перегородки масляного...
Масляный фильтр — описание
Масляный фильтр прикреплен справа к датчику уровня масла (со стороны масляного поддона) на блоке цилиндров. Корпус фильтра изготовлен из пластмассы. Датчик давления масла установлен на адаптере масляного фильтра. Сетчатый адаптер с полимерной сеткой...
Клапан маслоразбрызгивающего сопла — описание
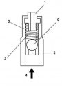
Рис. 2.45. Клапан маслоразбрызгивающего сопла: 1 – сопло; 2 – корпус клапана; 3 – пружина; 4 – масло; 5 – масляный канал; 6 – обратный шариковый клапан Клапаны маслоразбрызгивающих сопел установлены в блоке цилиндров (в коренной шейке)....
Работа клапанов маслоразбрызгивающих сопел
Рис. 2.46. Место устанвки клапанов маслоразбрызгивающих сопел: 1 – клапан маслоразбрызгивающего сопла; 2 – блок цилиндров; 3 – коленчатый вал Давление масла, воздействуя на обратный шариковый клапан в клапане маслоразбрызгивающего сопла, открывает и...
Проверка давления масла
Внимание! Горячий двигатель и масло могут стать причиной серьезных ожогов. Перед проверкой остановите двигатель и подождите, пока двигатель и моторное масло не остынут. Снимите нижнюю защитную крышку двигателя. Снимите датчик давления масла. Рис....
Замена моторного масла
Установите транспортное средство на горизонтальной поверхности. Прогрейте двигатель до нормальной рабочей температуры. Остановите двигатель и подождите 5 мин. Выньте щуп для измерения уровня масла. Убедитесь, что уровень масла – между метками F и L...
Замена масляного фильтра
Снимите сливную пробку масляного фильтра. Рис. 2.202. Масляный фильтр: 1 – уплотнительное кольцо; 2 – крышка масляного фильтра Отверните крышку масляного фильтра на 2 оборота и слейте моторное масло (рис. 2.202). Снимите масляный фильтр. Используйте...
Снятие и установка маслоохладителя
Снимите нижнюю защитную крышку двигателя. Слейте охлаждающую жидкость ( см. далее ). Снимите масляный фильтр. Рис. 2.204. Снятие маслоохладителя: 1 – водяной шланг; 2 – корпус маслоохладителя Снимите маслоохладитель (рис. 2.204). Используйте чистую...
Снятие и установка масляного поддона
Остановите двигатель и подождите, пока двигатель и моторное масло не остынут. Отсоедините отрицательный провод аккумуляторной батареи. Снимите нижнюю защитную крышку. Слейте моторное масло. Снимите переднюю крышку двигателя. Рис. 2.205. Снятие...
Снятие и установка масляного насоса
Отсоедините отрицательный провод аккумуляторной батареи. Слейте моторное масло. Снимите масляный поддон. Снимите cетчатый масляный фильтр. Снимите направляющую цепи масляного насоса. Снимите натяжитель цепи масляного насоса. Снимите пружину...
Установка масляного фильтра (дизель)
Предупреждение! Снимайте и устанавливайте все элементы только на холодном двигателе, в противном случае, можно получить серьезные ожоги или тяжелую травму. Предупреждение! Поддомкраченное, но не закрепленное транспортное средство представляет...
Разборка, проверка и сборка масляного насоса (дизель)
Разборка Снимите крышку масляного насоса Снимите внутренний и внешний роторы. Снимите пробка и пружину плунжера. Снимите управляющий плунжер. Снимите корпус масляного насоса. Проверка Рис. 2.298. Измерение зазора между внутренним и внешним роторами...
Проверка давления масла (дизель)
Внимание! Горячий двигатель и масло могут стать причиной серьезных ожогов. Перед проверкой остановите двигатель и подождите, пока двигатель и моторное масло не остынут. Снимите нижнюю защитную крышку двигателя. Снимите датчик давления масла. Рис....
Замена моторного масла (дизель)
Установите транспортное средство на горизонтальной поверхности. Прогрейте двигатель до нормальной рабочей температуры. Остановите двигатель и подождите 5 мин. Выньте щуп для измерения уровня масла. Рис. 2.288. Проверка уровня масла по...
Снятие и установка масляного поддона (дизель)
Рис. 2.290. Масляный поддон: 1 – масляный поддон; 2 – сетчатый масляный фильтр; 3 – уплотнительное кольцо Снятие Снимите крышку аккумуляторной батареи. Отсоедините отрицательный провод от аккумуляторной батареи. Снимите нижнюю крышку. Слейте...
Похожие подразделы других моделей
Система смазки автомобиля Опель Инсигния А (2008-2017, 1 поколение)
Система смазки автомобиля Рено Логан 1 (2004-2012, 1 поколение)
Система смазки автомобиля Тойота Карина Т190 (1992-1996, 6 поколение)
Система смазки автомобиля Ниссан Х-Трейл Т31 (2007-2013, 2 поколение)
Система смазки автомобиля Шевроле Нива ВАЗ-2123 (2002-2020, 1 поколение)
Система смазки автомобиля Ока ВАЗ-1111 (1988-1996)

Несколько случайных новостей марки Мазда

Шпионерам удалось подловить почти оголённый кроссовер Mazda CX-5
2011.03.09
Компактвэн Mazda5 получил минимальные изменения
2013.02.15
В РФ начались продажи Mazda3 и CX-5: цены от 3,5 млн рублей
2024.09.20
Со сменой поколений Mazda 3 стала самой дорогой в сегменте
2019.06.17

 
Mazda3 1 (BK) 
  • Руководство по эксплуатации
  • Технические характеристики
  • Ключи, замки и сигнализация
  • Приборы управления
  • Кондиционер и отопитель
  • Регулировка сидений
  • Системы безопасности
  • Вождение и эксплуатация
  • Выявление неисправностей
  • Техническое обслуживание
  • Двигатель и системы
  • Устройство двигателей (бензин)
  • Ремонт двигателей (бензин)
  • Дизельные двигатели
  • Система смазки
  • Система охлаждения
  • Система питания
  • Выхлопная система
  • Система зажигания
  • Система управления
  • Трансмиссия
  • Сцепление
  • Механическая коробка
  • Автоматическая коробка
  • Приводные валы
  • Ходовая часть
  • Подвеска автомобиля
  • Рулевое управление
  • Тормозная система
  • Кузов и салон
  • Элементы кузова
  • Двери, замки и окна
  • Кондиционер и отопитель
  • Электрооборудование
  • Оборудование и приборы
  • Система пуска и заряда
  • Освещение и лампы
  • Стеклоочистители и омыватели
  • Проверки электрооборудования
Audi BMW Chery Chevrolet Citroen Daewoo Fiat Ford Honda Hyundai Infiniti Isuzu Jeep Lexus Land Rover Mazda Mercedes-Benz Mitsubishi Opel Nissan Peugeot Renault Saab Skoda Subaru Suzuki Toyota Volkswagen Volvo AvtoVAZ
AutoInstruction.ru © 2020–2025 | Карта сайта | Статьи | Контакты | Поиск по сайту | Добавить в закладки | Мобильная версия
 0.02