Примечание. В случае обнаружения признаков развития утечек в корпусе насоса сборка подлежит замене.
Конструкция рулевого насоса (модели 2.0 и 2.5 л)
1 - Приводной шкив; 2 - Сальник; 3 - Передняя секция корпуса; 4 - Уплотнительное кольцо; 5 - Насадка; 6 - Напорная пластина; 7 - Эксцентриковое кольцо; 8 - Стопорное кольцо; 9 - Штифт; 10 - Ротор; 11 - Уплотнительное кольцо; 12 - Уплотнительный элемент; 13 - Задняя секция корпуса (крышка); 14 - Датчик-выключатель давления; 15 - Штуцерный разъем
Усилия затягивания резьбовых соединений, Нм:
- Т1: 27.5
- Т2: 63.5
Снятие
1. Отсоедините отрицательный провод от батареи.
2. Снимите крышку приводного шкива.
Модели 2.0 и 2.5 л

1. Отпустите стопорный и регулировочный болты и снимите V-образный ремень привода рулевого насоса.
2. Отсоедините электропроводку от датчика-выключателя рулевого насоса.
1 - Всасывающий шланг; 2 - Трубка C
3. Отсоедините от рулевого насоса напорную трубку С и всасывающий (впускной) шланг.
Внимание! Постарайтесь не допустить попадания гидравлической жидкости на приводной ремень, во избежание попадания в систему грязи сразу же закупорьте, либо оберните чистой ветошью открытые концы линий!

4. Выверните болты крепления опорного карбюратора рулевого насоса.

5. Зажмите кронштейн в тиски с мягкими губками и выверните два болта с передней стороны насосной сборки.

6. Снимите с насоса насадку.

7. Выверните болт с задней стороны насосной сборки и, поддев отверткой, отделите насос от опорного кронштейна.
Модели 3.0 л
1. Снимите клиновидный приводной ремень.
2. Отсоедините электропроводку от датчика-выключателя давления.
3. Снимите регулятор натяжения ремня.

4. Отсоедините от насосной сборки напорный и всасывающий шланги.
Внимание! Постарайтесь не допустить попадания гидравлической жидкости на приводной ремень, во избежание попадания в систему грязи сразу же закупорьте, либо оберните чистой ветошью открытые концы линий!

5. Выверните болты крепления опорного кронштейна рулевого насоса.

6. Зажмите кронштейн в тиски с мягкими губками и выверните два болта с передней стороны насосной сборки.

7. Выверните болт с задней стороны насосной сборки и отделите насос от опорного кронштейна.
Разборка (только модели 2.0 и 2.5 л)
Примечание. Рулевой насос, устанавливаемый на модели 3.0, л разборке не подлежит и в случае выхода из строя заменяется в сборе.

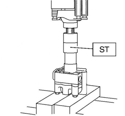
1. Поместите сборку рулевого насоса в кондуктор ST 34199АЕ020, закрепите в тисках и выверните четыре болта крепления задней крышки.

2. Снимите с насосной сборки напорную пластину.

3. Аккуратно поддев отверткой, извлеките стопорное кольцо.
Внимание! Не извлекайте из сборки эксцентриковое кольцо, ротор и прочие компоненты!
4. Посадите на место напорную пластину и временно установите заднюю крышку на переднюю секцию корпуса насоса.
5. Снимите с вала ротора приводной шкив, затем закрепите сборку в тиски с мягкими губками.

6. Поддев отверткой, извлеките сальник.
7. Изучите состояние снятых компонентов.
8. При выявлении признаков повреждения литься, износа отверстия под установку золотникового клапана, повреждения или износа сопрягаемой с патронной сборкой поверхности, а также контактирующих с валом ротора и сальником поверхностей корпус подлежит замене в сборе с золотниковым клапаном.
9. Поврежденная задняя крышка также подлежит замене, - особое внимание уделите состоянию поверхностей скольжения.
10. Вал ротора заменяется в случае выявления выхода из строя подшипников, признаков изгиба, износа контактирующих с втулкой и сальником поверхностей, а также поверхности под установку ротора.
11. Оцените степень износа поверхностей скольжения напорной пластины, - в случае необходимости произведите замену.
12. Изучите состояние эксцентрикового кольца, торцевых и боковых поверхностей шиберных лопаток, поверхностей скольжения (и пазов под установку шиберных лопаток) ротора - в случае выявления признаков чрезмерного износа замените патронную сборку.
Примечание. В случае незначительного повреждения ротора в процессе снятия стопорного кольца, образовавшиеся задиры могут быть устранены при помощи точильного камня.
13. Оцените состояние резьбовой части штуцерного разъема, пружины, а также всех крепежных болтов и гаек. Замените чрезмерно изношенные или поврежденные компоненты.
14. Треснутый или чрезмерно деформированный опорный кронштейн насосной сборки также подлежит замене.
Сборка
Внимание! Все снятые с насосной сборки уплотнительные компоненты и стопорные кольца подлежат замене в обязательном порядке!
1. Промойте все снятые компоненты маслом, затем тщательно высушите их.
2. Сжатым воздухом продуйте переднюю секцию корпуса насосной сборки с целью полного удаления из нее следов промывочного масла.
3. Смажьте поверхности компонентов специальным предотвращающим развитие коррозии гидравлическим маслом.
4. Проверьте состояние внутренних поверхностей передней секции корпуса.
5. Временно установите на переднюю секцию корпуса заднюю крышку.

6. При помощи оправки ST 34199АЕ030 и пресса заправьте в насосную сборку НОВЫЙ сальник.
7. Посадите на вал ротора приводной шкив.
8. Поместите сборку рулевого насоса в кондуктор ST 34199АЕ020 и закрепите в тисках.
9. Снимите заднюю крышку.

10. Воспользовавшись в качестве оправки сменной торцевой головкой на 10 мм, посадите в приемную канавку на валу ротора НОВОЕ стопорное кольцо.
1 - Канавка
11. Правильным образом развернув, установите на место напорную пластину.
12. Смажьте силиконовой смазкой НОВЫЕ уплотнительные кольца и посадите их в переднюю секцию корпуса насоса и на напорную пластину.
13. Установите на напорную пластину новый уплотнительный элемент.
14. Проследив за правильностью попадания в ответное отверстие направляющего штифта, установите заднюю крышку.
15. Вверните крепежные болты и затяните их с требуемым усилием (27.5 Нм), затем, действуя строго в определенном порядке, отпустите болты и вновь затяните их с требуемым усилием (в порядке отпускания).
16. В заключение вручную проверьте свободу вращения вала насоса, - в случае необходимости разберите насос и произвдеите необходимые исправления (например, удалите из корпуса мешающие вращению вала посторонние частицы).
Оценка степени износа внутренних компонентов
1 - Циферблатный измеритель
Р = 1 кГс
1. Руководствуясь схемой, приведенной на сопр. иллюстрации, несильно зажмите насосную сборку в тиски с мягкими губками (лучше будет проложить между губками тисков и корпусом насоса пару деревянных блоков) и при помощи циферблатного измерителя плунжерного типа оцените величину бокового люфта вала насоса при прикладывании к шкиву усилия в 1 кГс. Если результат измерения составляет более 0.4 мм, замените насосную сборку.
1 - Циферблатный измеритель
2. Далее измерьте величину осевого люфта вала. Если результат измерения превышает 0.6 мм, замените насос.
1 - Циферблатный измеритель
3. Определите величину радиального биения шкива по дну ручья. При превышении результатом измерения предельного допустимого значения (1.0 мм) замените шкив.

4. При помощи динамометра измерьте сопротивление шкива проворачиванию. Если результат измерения превышает 9.22 Н (0.94 кГс), замените насосную сборку.
Примечание. Допускается некоторое превышение предельного допустимого значения в момент трогания шкива с места.
Установка
Притягивание втулки к сопрягаемой поверхности насосной сборки (модели 2.0 и 2.5 л)
1 - Втулка; 2 - Гайка; 3 - Головка на 21 мм; 4 - Головка на 14 мм; 5 - Болт
Модели 2.0 и 2.5 л
1. Зажмите опорный кронштейн насосной сборки в тиски с мягкими губками и при помощи полудюймовых торцевых головок на 14 и на 21 мм плотно притяните втулку к корпусу насоса.

2. Вверните и затяните с требуемым усилием (37.3) болт крепления на кронштейне насоса и кронштейна датчика-выключателя давления.
3. Вверните и затяните с требуемым усилием (15.7 Нм) передние болты насосной сборки.
4. Вверните и затяните с требуемым усилием (6.5 Нм) насадку.
5. Установите сборку насоса с кронштейном на свое штатное место на двигатель, вверните и затяните с требуемым усилием (22 Нм) крепежные болты.
6. Подсоедините к насосу трубку C и всасывающий шланг, - соединительная гайка штуцерного разъема затягивается с усилием 39.2 Нм, - проследите, чтобы шланг не оказался перекручен и не прижимался к расположенным по соседству компонентам.
7. Дальнейшая установка производится в порядке, обратном порядку демонтажа компонентов. Усилие затягивания болта натяжителя составляет 8 Нм.
8. В заключение произведите заправку системы гидроусиления руля.
Модели 3.0 л
1. Установите на сопрягаемую поверхность корпуса насоса втулку.
2. Дальнейшая установка производится в порядке, обратном порядку демонтажа компонентов. Проследите, чтобы весь крепеж был затянут с требуемым усилием (см. Спецификации и сопроводительные иллюстрации к подразделу «Снятие»).
Гидравлические проверки
Проверка регулируемого давления
Внимание! Предварительно следует оценить степень износа внутренних компонентов и произвести соответствующие замены (см. выше)!
Во избежание повреждения рулевого насоса не удерживайте клапан манометра закрытым, а рулевое колесо вывернутым до упора долее, чем в течение 5 секунд!
Все следы проливаемой гидравлической жидкости без промедления собирайте сухой ветошью или бумажными полотенцами!
1. Подсоедините к манометру ST1 92511000 переходные шланги А и В (ST2: 34099АС020 и ST3: 34099АС010).
2. Отсоедините от насоса напорный шланг и вместо него подключите переходной шланг В (ST2) измерительной сборки, - воспользуйтесь уплотнительной прокладкой № 34621АС021 и штуцерным болтом № 34620АС010.
3. Отсоедините трубку С от трубки со стороны рулевого механизма и подсоедините к ней переходной шланг А (ST3) измерительной сборки.
4. Проверьте уровень жидкости в резервуаре ГУР, произведите необходимую корректировку.

5. Откройте вентиль манометра и запустите двигатель на холостые обороты.
6. Считайте показание манометра. Если результат измерения превышает предельное допустимое значение (981 кПа), проверьте состояние и проходимость гидравлических линий, произведите необходимые исправления, замените вышедшие из строя компоненты.
Проверка давления открывания редукционного клапана
Перекройте вентиль и считайте показание манометра. Вновь откройте вентиль манометра и считайте его показания при выворачивании рулевого колеса от упора до упора. Если результат измерения выходит за пределы допустимого диапазона (9.611÷10.199 кПа: для моделей 2.0 и 2.5 л/7.650÷8.340 кПа: для моделей 3.0 л), замените насосную сборку.
Проверка рабочего давления
Вновь откройте вентиль манометра и считайте его показания при выворачивании рулевого колеса от упора до упора. Если результат измерения выходит за пределы допустимого диапазона (9.611÷10.199 кПа: для моделей 2.0 и 2.5 л/7.650÷8.340 кПа: для моделей 3.0 л), замените сборку управляющего клапана с ведущей шестерней рулевого механизма.
