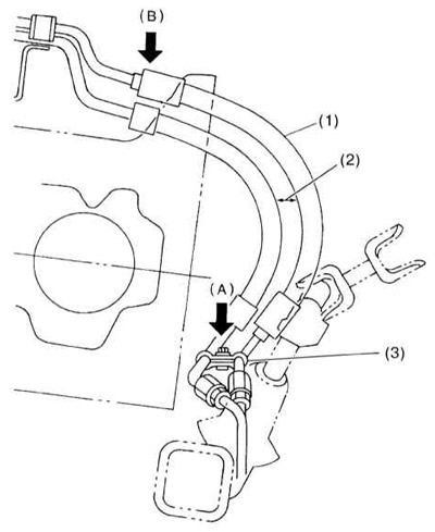
1 - Возвратный шланг; 2 - Напорный шланг; 3 - Приблизительно 30 мм; 4 - Хомут Е; 5 - Трубка C; 6 - Трубка D; 7 - Трубка со стороны рулевого механизма
Детали установки трубок C и D на моделях 2.0 и 2.5 л
1 - Болты А крепления промежуточных фиксаторов трубок; 2 - Трубка C; 3 - Трубка D
Детали подсоединения шлангов возвратной и напорной линий на моделях 3.0 л
1 - Болты А крепления промежуточных фиксаторов трубок; 2 - Напорный шланг; 3 - Возвратный шланг
Метки в виде литер 8 на секциях хомута Е должны оказаться по диагонали друг напротив друга
1 - Хомут Е; 2 - Трубка C
Схема прокладки трубопроводов гидравлических линий системы ГУР
1 - Напорный шланг; 2 - Шланги не должны перекрещиваться; 3 - Зазор между балкой и трубками
Снятие
1. Загоните автомобиль на подъемник.
2. Отсоедините отрицательный провод от батареи.
3. Поднимите автомобиль и снимите домкратную пластину.
4. Отсоедините от картера рулевого механизма трубки А и В гидравлических линий.
5. Снимите хомут Е фиксации трубок С и D напорного и возвратного контуров.
6. Отсоедините трубки C и D от картера рулевого механизма.
7. На моделях 2.0 и 2.5 л выверните болты промежуточных фиксаторов и отсоедините трубку C от рулевого насоса, а трубку D от возвратного шланга.
Внимание! Постарайтесь не допустить попадания гидравлической жидкости на приводной ремень, во избежание попадания в систему грязи сразу же закупорьте, либо оберните чистой ветошью открытые концы линий!
8. На моделях 3.0 л отсоедините напорный шланг от насоса, а возвратный от резервуара гидравлической жидкости.
Внимание! Постарайтесь не допустить попадания гидравлической жидкости на приводной ремень, во избежание попадания в систему грязи сразу же закупорьте, либо оберните чистой ветошью открытые концы линий!
Проверка
Внимание! Помните, что непрерывное функционирование редукционного клапана насосной сборки на протяжении более чем 5 секунд приводит к сокращению срока службы гидравлических шлангов, насоса и собственно гидравлической жидкости вследствие перегрева! Старайтесь избегать таких ситуаций как во время эксплуатации транспортного средства, так и во время проверки компонентов.
1. Внимательно изучите состояние всех снятых компонентов. Оцените состояние контактных штуцерных поверхностей трубок, накидных гаек штуцерных разъемов, проверьте трубки на наличие деформаций, а шланги - на наличие вздутий, трещин, порезов и прочих механических повреждений, удостоверьтесь в исправности стяжных хомутов. Дефектные компоненты замените.
Внимание! Старайтесь не допускать попадания на поверхность шлангов гидравлического тракта ГУР таких химически агрессивных субстанций, как электролит батареи, двигательное масло, ATF, тормозная жидкость, и т.п., - в случае необходимости без промедления протирайте шланги чистой ветошью!
2. Некоторые типичные дефекты гидравлических шлангов связаны с вполне определенными нарушениями. Так, вздутие напорного шланга чаще всего вызывается чрезмерным временем непрерывного функционирования редукционного клапана, отказом последнего, либо снижением интенсивности отвода тепла от гидравлической жидкости. Перегрев гидравлической жидкости может приводить также к соскальзыванию со своего штуцера возвратного шланга (проверьте также состояние крепежного хомута). Наличие на шлангах признаков развития незначительных утечек может свидетельствовать о неправильной прокладке линий, чрезмерностью амплитуды вибраций силового агрегата (в результате ослабления подушек опор его подвески, либо неправильности установки упора ограничителя раскачиваний двигателя). К появлению на шлангах трещин может приводить чрезмерное повышение давления гидравлической жидкости (например, в результате отказа, либо чрезмерно долгого непрерывного функционирования редукционного клапана), а также попадание на поверхность шланга химически агрессивных жидкостей.
Примечание. Шланги могут начинать трескаться также при длительной эксплуатации автомобиля в условиях пониженных температур.
Установка
1. Затянув крепежные болты с требуемым усилием (13 Нм), закрепите возвратную и напорную гидравлические линии промежуточными фиксаторами и, действуя в порядке, обратном порядку отсоединения, восстановите их исходное подсоединение к рулевому насосу, резервуару ГУР. Проследите, чтобы полые болты штуцерных разъемов были затянуты с требуемым усилием (39 Нм), - постарайтесь не допустить перекручивания шлангов.
2. Временно установите хомут Е промежуточной фиксации трубок C и D, - проследите за правильностью выбора местоположения хомута.
3. Удостоверьтесь в правильности расположения маркировки в виде цифры 8 на обеих секциях хомута Е, затем затяните стяжной болт с требуемым усилием (7.4 Нм).
4. Восстановите исходное подсоединение трубок C и D и затяните штуцерные гайки с требуемым усилием (15 Нм).
5. Подсоедините трубки А и В к картеру рулевого механизма, - сначала верхнюю (В), затем нижнюю (А). Затяните накидные гайки штуцерных разъемов с требуемым усилием (13 Нм).
6. Установите на место домкратную пластину, подсоедините отрицательный провод к батарее и залейте в систему гидроусиления руля свежую жидкость. Внимание: Попытка запуска двигателя при незаправленной системе ГУР чревата заклиниванием шиберного рулевого насоса.
7. В заключение проверьте правильность размещения гидравлических линий. Если зазор между управляющим насосом темпостата и шлангом тракта ГУР составляет менее 10 мм, отпустите опустите стянутую хомутом секцию трубопровода (А) ближе к балке подвески (но не ближе чем на 10 мм). В случае необходимости подогните соответствующим образом секцию В трубопровода.
Перечень наиболее типичных причин развития утечек в гидравлическом тракте ГУР
Типичные участки развития утечек в гидравлическом тракте ГУР
1÷11 Штуцерные разъемы
12÷14 Шланги
15 и 16 — Стыки чугунного литья корпуса рулевого насоса
17 и 18 — Резервуар гидравлической жидкости
19 — Заливная горловина резервуара
20 — Силовой цилиндр рулевого механизма
21 и 22 — Управляющий клапан рулевого механизма
1. Во избежание возникновения ложных подозрений на развитие утечек в тракте системы ГУР следует особое внимание уделять тщательности протирки наружных поверхностей компонентов тракта перед их установкой после выполнения процедур обслуживания.
2. Наиболее критичные участки гидравлического тракта с точки зрения потенциальной возможности развития утечек показаны на иллюстрации.
3. Утечки через штуцерные разъемы (1÷11) чаще всего оказываются связанными с ослаблением накидных гаек/полых болтов/хомутов штуцерных разъемов, попаданием в разъемы грязи или посторонних предметов, а также повреждением уплотнительных шайб и колец, - подтяните отпустившийся крепеж, замените вышедшие из строя уплотнительные элементы, замените ослабшие хомуты.
4. Основной причиной развития утечек в шлангах (12÷14) обычно является механическое повреждение (трещины, порезы), либо старение материала (отвердевание, вздутие, разрыхление) последних, - замените вышедшие из строя шланги.
5. Наиболее вероятной причиной возникновения утечек через стыки чугунного литься корпуса рулевого насоса (15 и 16) является повреждение уплотнительного кольца, либо нарушение целостности уплотнительной прокладки, - замените дефектные уплотнительные элементы.
6. Трещины в корпусе резервуара (17 и 18) чаще всего появляются в районе патрубков подсоединения гидравлических шлангов. Дефектный резервуар подлежит замене.
7. Утечки через заливную горловину резервуара (19) могут возникать в результате повреждения уплотнительной прокладки крышки, появления трещин в пластмассе, а также при переливе рабочей жидкости при заправке системы, - замените резервуар/крышку, произведите корректировку уровня жидкости ГУР (см. Раздел Проверка и замена жидкости ГУР, удаление воздуха из гидравлического тракта).
8. Утечки в силовом цилиндре рулевого механизма (20) чаще всего возникают в результате выхода из строя уплотнительной манжеты, - замените манжету (см. Раздел Снятие, обслуживание и установка рулевого механизма).
9. Причиной развития утечек в управляющем клапане (21 и 22) чаще всего оказывается выход из строя уплотнительных элементов, либо механический дефект собственно клапанной сборки, - произведите необходимый восстановительный ремонт, замените вышедшие из строя сальники/прокладки (см. Раздел Снятие, обслуживание и установка рулевого механизма).
